DKR-systeem
Zichtbaar mechanisch bevestigingssysteem met klinknagels.
Een licht, veelzijdig en kosteneffectief systeem, eenvoudig en snel te installeren, dat kan worden aangepast aan elk formaat en aan de vorm van welk deel dan ook. Een eenvoudige, subtiele en eerlijke oplossing die grenzeloze ontwerpen mogelijk maakt.

Beschrijving
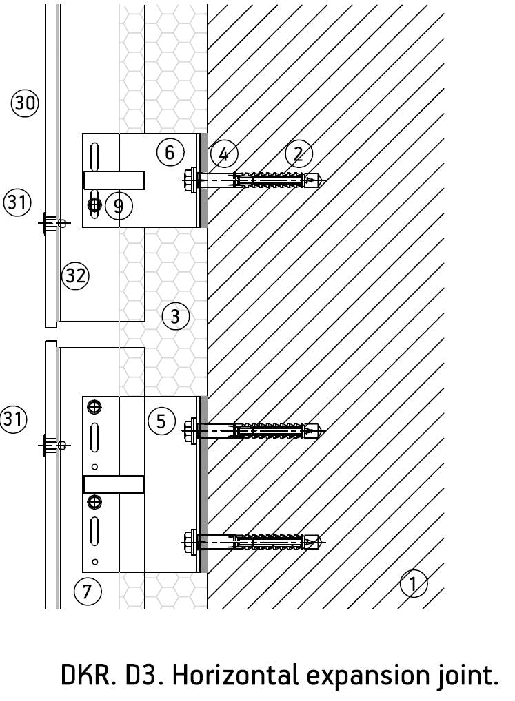
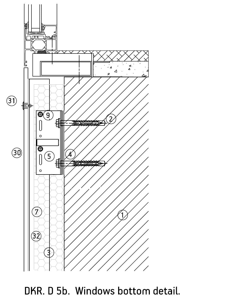
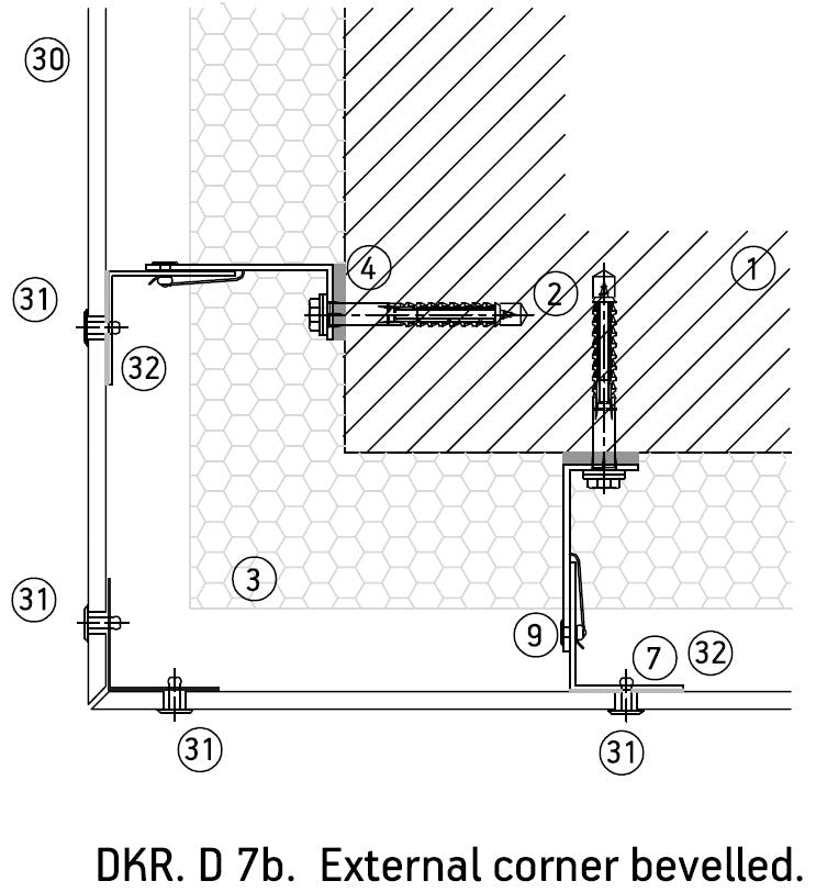
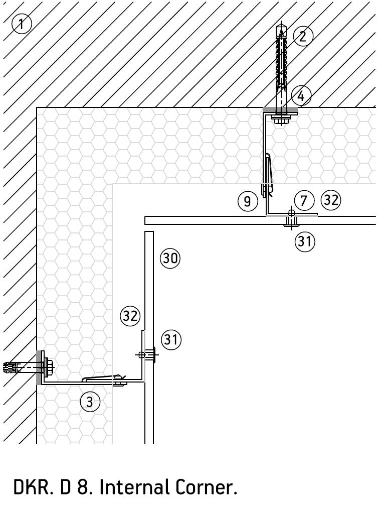
Met het DKR-systeem kunnen Dekton®-delen met een dikte van 4 mm en 8 mm rechtstreeks met klinknagels worden bevestigd op verticale profielen of een substructuur, zodat de materiaal- en installatiekosten kunnen worden verminderd. Klinknagels en boren kunnen in roosters met verschillende dichtheden in het deel worden geplaatst om te voldoen aan de weerstandsvereisten van het project. De twee vaste punten die met cilinders worden vastgezet, ondersteunen het gewicht van het deel terwijl de rest van de klinknagels de windbelastingen ondersteunen. Hierdoor is een flexibel voegontwerp mogelijk.
De zichtbare klinknagels kunnen worden gelakt met het gekozen Dekton®-product, voor een discrete bevestiging die qua kleur perfect integreert met de bekleding. Onze aanbevolen klinknagels hebben een duurzame en hoogwaardige lak, die niet na verloop van tijd loslaat.
Dekton-delen kunnen zeer nauwkeurig voorgeboord worden geleverd, met boorgaten van 10 mm (7/32”), of ter plaatse worden geperforeerd, wat elke aanpassing die nodig is tijdens de gevelinstallatie vergemakkelijkt.)
DKR-projecten
Elan Center Natanya






Heb je hulp nodig bij je project?
Neem voor advies contact op met onze specialisten
Heb je hulp nodig bij je project?
Neem voor advies contact op met onze specialisten
Andere bouwsystemen
Digitale bronnenbibliotheek
Digitale bronnen
Bevestigingssystemen
Productinformatiebladen
Tender texts
Neem contact met ons op!
Als u een gratis staal of op maat gemaakt advies wilt ontvangen, vul dan het formulier in.
















